KS TOOLS - Ouvre-caisse BRONZEplus 230mm
Référence produit : 963.5105
Entreprise 100% française
Membre du réseau France Materiaux
Livraison 24H
Sur les produits en stock
Service client qualifié
Basé à Bordeaux
Alliage Aluminium-Bronze
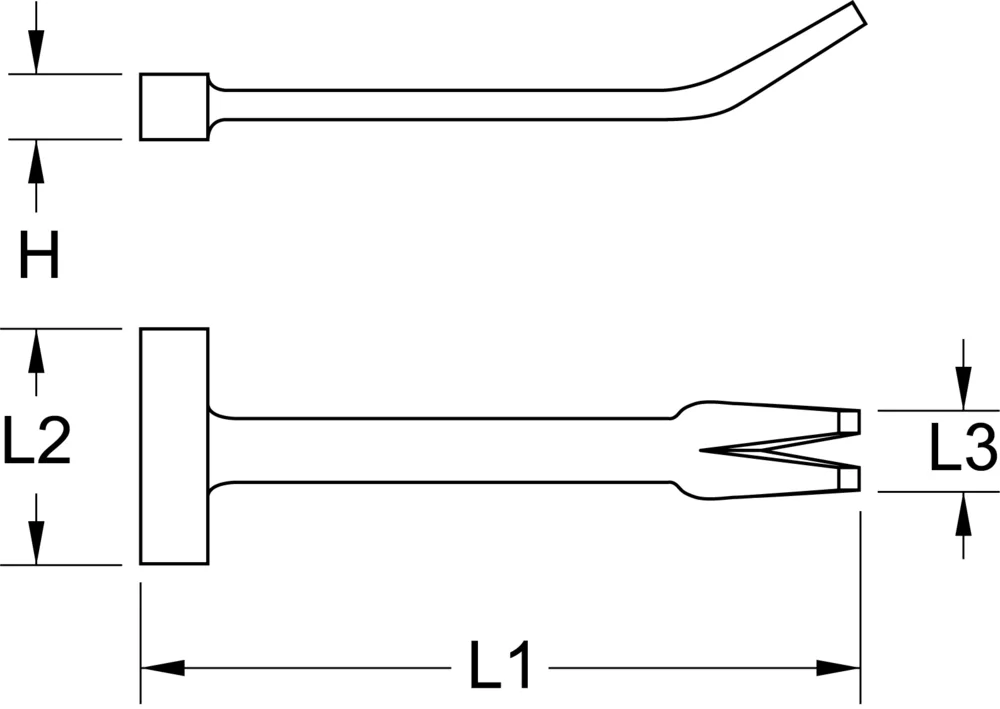
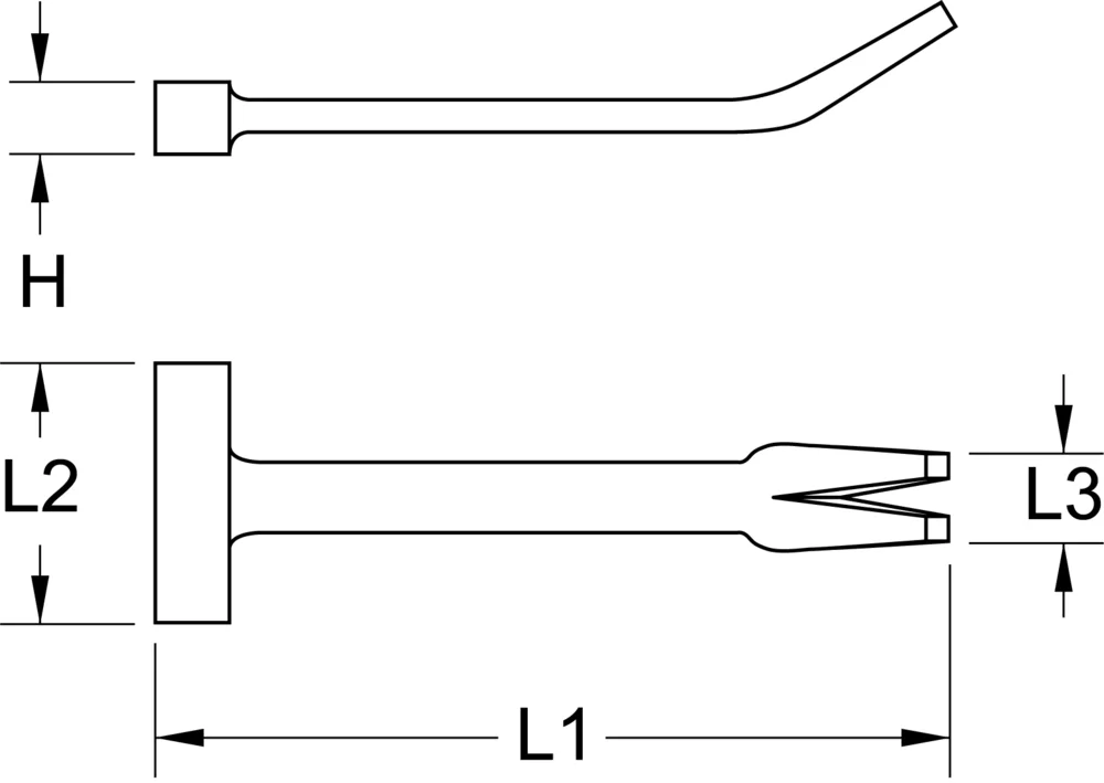
- Poids en g 490
- Hauteur H (Ø 22
- Longueur totale L1 en mm 230
- Longueur intermédiaire L2 en mm 70
- Longueur 3 mm 30
- Code EAN 4042146524305
- Référence 963.5105
- Clé antidéflagrante Type de produit
- Type de produit Outillage antidéflagrant
- Longueur (mm) 230
- Référence interne cg9fkprl
Produits similaires

Carré d'entraînement BRONZEplus 68mm



Crochet BRONZEplus 380mm

Pioche BRONZEplus 950mm


Pelles carrées BRONZEplus

Fourche à foin BRONZEplus 1600mm

Douilles 6 pans BRONZEplus

Clé ouvre-bidons BRONZEplus 380mm
Il n'y a pas encore d'avis sur ce produit.